AgroBox

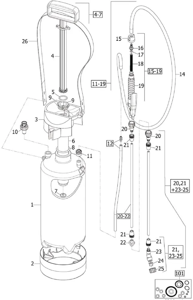
Výkres komponent Gloria Clean Master CM50

Parametry produktu

Tento produkt má několik variant. Vyberte prosím konkrétní variantu z tabulky níže.

Dostupné varianty produktu

Produkt Košík Cena Značka Jednotka
Plochá postřikovací tryska, kompletní
Plochá postřikovací tryska, kompletní
7292860000
262,45 Kč 216,90 Kč bez DPH
Gloria Kus
Pojistná matice,tryska, Prima5
Pojistná matice,tryska, Prima5
511539358GL
62,07 Kč 51,30 Kč bez DPH
Gloria Kus
Pružina tlakového kohoutu
Pružina tlakového kohoutu
511612071GL
74,05 Kč 61,20 Kč bez DPH
Gloria Kus
Sací hadice Prima 5
Sací hadice Prima 5
511508500GL
54,45 Kč 45,00 Kč bez DPH
Gloria Kus
Secí trubka velká
Secí trubka velká
5418940000
64,25 Kč 53,10 Kč bez DPH
Gloria Kus