AgroBox

Svařované hrdlo 2 BSP

Parametry produktu

Číslo položky LSN32E
EAN 8719593054421
Jednotka Kus
Značka Kramp
Podrobnosti
  • Jednoduchá navařovací vsuvka
  • Navařovací vsuvky k vytváření pevných spojů
Tvar Přímé
Typ připojení č. 1 Závit
Typ připojení č. 1 – vnější/vnitřní Vnitřní
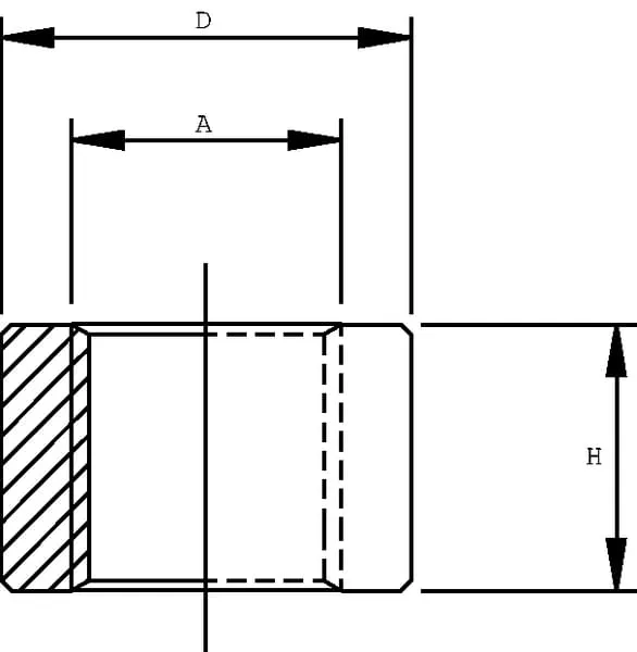
APrůměr závitu připojení č. 1 2 Inch
Typ závitu připojení č. 1 BSP
Typ připojení číslo 2 Svařovaný
Typ připojení číslo 2 – vnější/vnitřní Vnitřní
Průměr závitu připojení číslo 2 2 Inch
Typ závitu připojení číslo 2 BSP
DVnější průměr 70 mm
Výška 30 mm
HCelková délka 30 mm
Materiál Ocel
Max. pracovní tlak 190 BAR
Norma DIN 228
Povrchová úprava Žádné
Provedení prostá

626,36 Kč s DPH

517,65 Kč bez DPH

Skladem