AgroBox

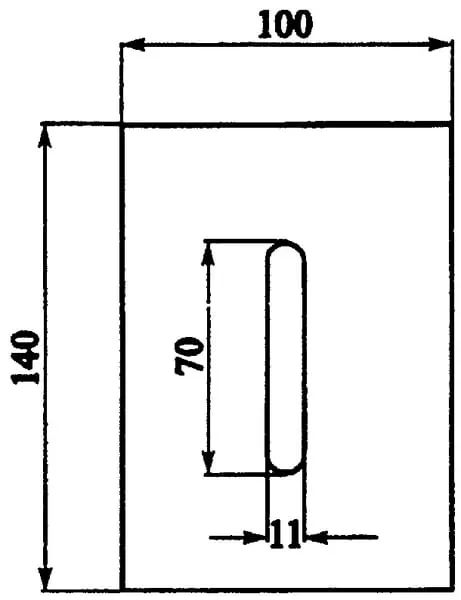
Stěrka 138×100 mm Lely

Parametry produktu

Číslo položky AB080004
Jednotka Kus
Značka Non Original
Délka 138 mm
Šířka 100 mm
Tloušťka 3 mm
Průměr montážního otvoru (šířka)
  • 11 mm
  • 70 mm
Originální číslo
  • 1.1632.2304.0
  • 1163223040
Vhodné pro značku Lely

133,95 Kč s DPH

110,70 Kč bez DPH

Skladem