Škrticí patrony CP618-2
Parametry produktu
Tento produkt má několik variant. Vyberte prosím konkrétní variantu z tabulky níže.
Dostupné varianty produktu
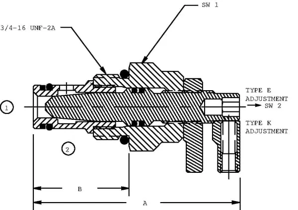
| Produkt | Košík | Cena | Dutina | Průtok | Značka | Jednotka | Max. tlak | Extra info | Typ seřízení | ACelková délka | Průměr závitu | BDélka bez matice | Montážní moment | SW1Velikost klíče | Původní balení od výrobce |
|---|---|---|---|---|---|---|---|---|---|---|---|---|---|---|---|
Škrticí patrona
CP6182B0E
|
963,70 Kč
796,45 Kč bez DPH
|
|
45 l/min | Danfoss | Kus | 207 BAR | Regulace otáček válců a motorů při konstantním zatížení | Vnitřní | 63,6 mm | 3/4 Inch | 27,7 mm | 41 N·m | 22.2 mm | 1 ks |