AgroBox

Pojistný kolík 10mm (s kroužke

Parametry produktu

Číslo položky LP10KR
EAN 8716106066957
Jednotka Kus
Zaokrouhlení množství 25
Značka Kramp
Použití K zajištění přídavných zařízení traktorů
Vlastnosti Pozink
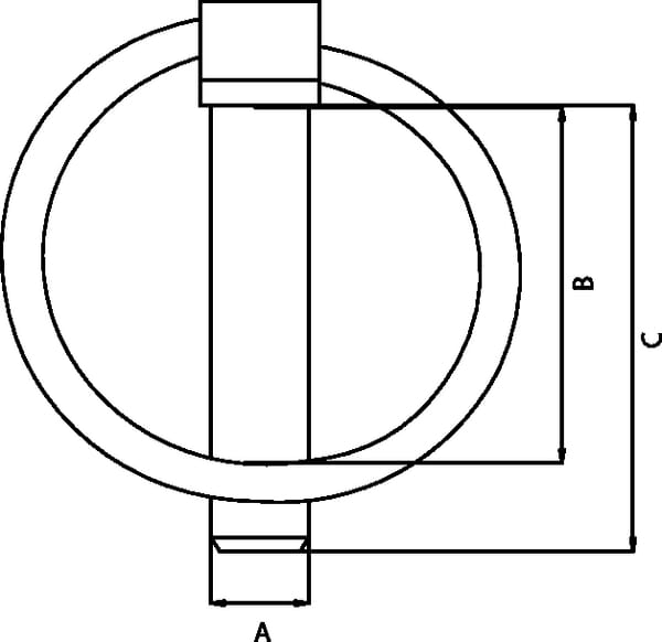
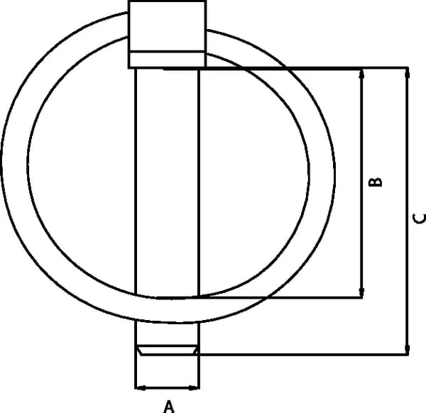
CDélka 45 mm
APrůměr 10 mm
Celková délka 56 mm
BPracovní délka 36 mm
Průměr hlavy 14 mm
Materiál Ocel
Povrchová úprava Pozinkované
Původní balení od výrobce 1 ks

7,47 Kč s DPH

6,17 Kč bez DPH

Skladem