AgroBox

Pera kypřiče stop orig.

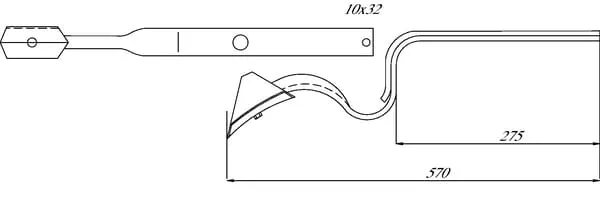
Parametry produktu

Číslo položky 3116000
Jednotka Kus
Značka Amazone
Šířka 32 mm
Tloušťka 10 mm
Celková výška 570 mm
Vhodné pro značku Amazone

1 998,38 Kč s DPH

1 651,55 Kč bez DPH

Skladem