AgroBox

Páka pro šoupátko 8″

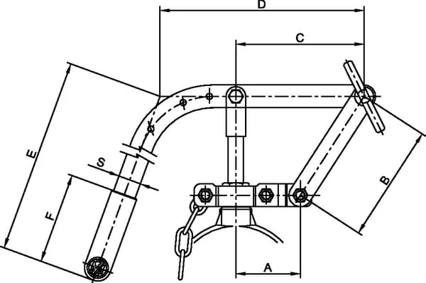
Parametry produktu

Číslo položky 8990000
Jednotka Kus
Značka MZ
AVzdálenost středu ke spojovacímu bodu ramene rukojeti 89 mm
CVzdálenost spojovacích bodů ramene rukojeti 205 mm
BDélka 1. části ramene rukojeti 187 mm
DDélka 2. části ramene rukojeti 325 mm
EDélka 3. části ramene rukojeti 445 mm
FDélka úchopu 120 mm
SŠířka/průměr násady 30 mm
Rozměr 8 Inch
Hmotnost 3050 g

1 156,03 Kč s DPH

955,40 Kč bez DPH

Skladem