AgroBox

Orbit motor, hřídel 1 3/8″Z6

Parametry produktu

Číslo položky OMS100151F0561
Jednotka Kus
Značka White
Popis výrobku Orbitální motory se vyznačují kompaktní konstrukcí, velkou axiální a radiální zatížitelností hřídele a vysokým náběhovým točivým momentem
Podrobnosti
  • Zvláště vhodné k dlouhodobému používání za ztížených podmínek
  • Vysoký tlak za trvalého provozu
  • Velmi rovnoměrný chod při nízkých otáčkách
  • Chod lze často obracet
  • Vysoká účinnost
  • Velmi dobré rozběhové vlastnosti
  • Vysoké přípustné radiální zatížení hřídele
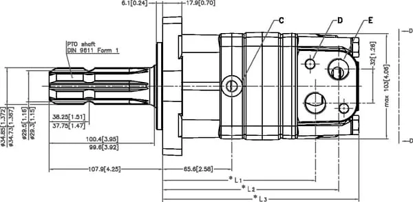
Zdvihový objem 100 cm³/rev
Tvar příruby Standard
Počet montážních otvorů 4
Průměr hřídele 35 mm
Počet zubů hřídele 6
Max. soustavný točivý moment 305 N·m
Max. soustavný provozní tlak 210 BAR
Max. střídavý provozní tlak 275 BAR
Max. nejvyšší tlak 295 BAR
Míra maximálního průtoku 75 l/min
Max. rychlost otáčení 750 r/min
Min. rychlost otáčení 10 r/min
Průměr závitu hlavního portu 1/2 Inch
Typ závitu hlavního portu G
Průměr závitu vypouštěcího portu 1/4 Inch
Typ závitu vypouštěcího portu G
Typ těsnění Standardní
Max. výkon 18 kW
Vzdálenost od středu k přední části příruby hlavního portu 127,5 mm
Vzdálenost od středu k přední části příruby druhého hlavního portu 149,5 mm
Délka pouzdra 171,8 mm
Originální číslo 151F0561

22 602,20 Kč s DPH

18 679,50 Kč bez DPH

Skladem