AgroBox

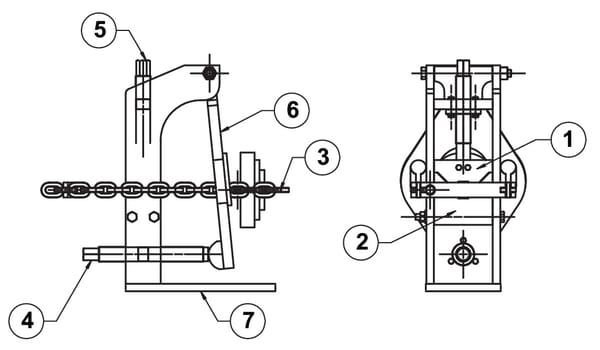
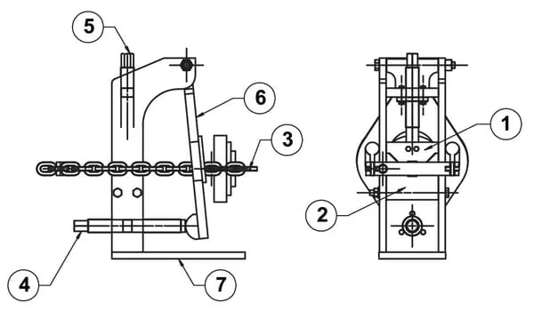
Montážní zařízení pro kloubové hřídele

Parametry produktu

Číslo položky ATDSM
EAN 5700038576960
Jednotka Kus
Značka Kramp
Popis výrobku 07 SW 30

47 957,38 Kč s DPH

39 634,20 Kč bez DPH

Skladem