AgroBox

Krídlo p.

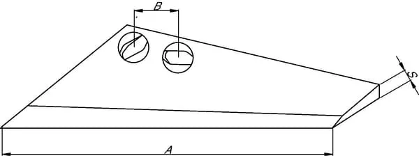
Parametry produktu

Číslo položky CP4503
Jednotka Kus
Značka Non Original
Počet montážních otvorů 2
Montážní strana Pravá
Délka 225 mm
Tloušťka 8 mm
Typ dodatečné ochrany proti opotřebení n/a
Vzdálenost montážních otvorů 50 mm

570,82 Kč s DPH

471,75 Kč bez DPH

Skladem