AgroBox

Hroty vidlice se závěsem ISO/FEM3 pro paletové vidlice

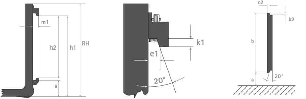
Parametry produktu

Zvláštnosti
Trvanlivé označení hrotů vidlic dle DIN 16175
Použití
Zavěšení: FEM 2A / ISO 2
Vlastnosti
  • Těžiště zatížen: 500 mm
  • Materiál: 30Mn5Vs
Výhody
  • Připraveno k montáži s pozinkovanou aretací čepu pružiny
  • Se zesíleným zalomením vidlice Optima a přidanou zónou opotřebení

Tento produkt má několik variant. Vyberte prosím konkrétní variantu z tabulky níže.

Dostupné varianty produktu

Produkt Košík Cena Jednotka Použití Tloušťka Vlastnosti ISO standard Max. kapacita Zvláštnosti Celková délka Celková šířka RHCelková výška Vnitřní výška háku H2Vzdálenost mezi spoji C1Vnitřní horní přípojka háku H1Výška spodního a horního spoje AVýška dna ke spodnímu připojení Vzdálenost od středového zatížení
Nakládací vidlice 120x50x1200
Nakládací vidlice 120x50x1200
7908837FEM3A
10 184,21 Kč 8 416,70 Kč bez DPH
Kus Zavěšení: FEM 2A / ISO 2 50 mm
  • Těžiště zatížen: 500 mm
  • Materiál: 30Mn5Vs
FEM 3A 2500 kg Trvanlivé označení hrotů vidlic dle DIN 16175 1200 mm 120 mm 655 mm 17 mm 477 mm 22 mm 568 mm 76 mm 500 mm