AgroBox

Hrot radlice pravý

Parametry produktu

Číslo položky 190060001
Jednotka Kus
Značka Överum
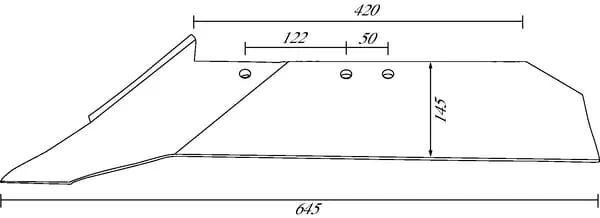
Rozteč otvorů
  • 120 mm
  • 50 mm
Celková délka 365 mm
Montážní strana Pravá

3 835,28 Kč s DPH

3 169,65 Kč bez DPH

Skladem