AgroBox

Dutý disk D=350mm orig.

Parametry produktu

Číslo položky AC497955
EAN 8719607018326
Jednotka Kus
Značka Kverneland / Accord
Popis výrobku Kotouče pro kotoučové brány, pluhy a secí stroje
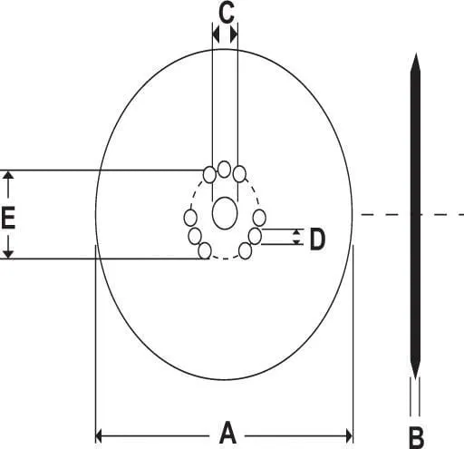
AVnější průměr 350 mm
BTloušťka 4,3 mm
Originální číslo AC497955
Plochý střed Ano
Tvar montážního středového otvoru Kulatá
CPrůměr montážního středového otvoru 22 mm
Počet montážních otvorů 3
EPrůměr kruhu rozteče montážních otvorů 82 mm
DPrůměr montážních otvorů 8 mm
Vydutí 32 mm
Vhodné pro značku
  • Kverneland
  • Accord

2 892,38 Kč s DPH

2 390,40 Kč bez DPH

Na dotaz