AgroBox

Disk 18″ Accord

Parametry produktu

Číslo položky AC353951
EAN 9000353951005
Jednotka Kus
Značka Kverneland / Accord
Popis výrobku Kotouče pro kotoučové brány, pluhy a secí stroje
Produktová kategorie Výsadbový a výsevní kotouč
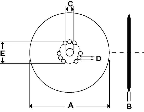
AVnější průměr 460 mm
BTloušťka 6 mm
Originální číslo AC353951
Typ Vyduté ozubené
Plochý střed Ano
Tvar montážního středového otvoru Kulatá
CPrůměr montážního středového otvoru 10 mm
Počet montážních otvorů 5
EPrůměr kruhu rozteče montážních otvorů 112 mm
DPrůměr montážních otvorů 12,5 mm
Počet drážek 16
Vydutí 22 mm
Vhodné pro značku
  • Kverneland
  • Accord

2 089,79 Kč s DPH

1 727,10 Kč bez DPH

Skladem