AgroBox

2/2 ventily NC jednocestné CP501-1 NC

Parametry produktu

Popis výrobku
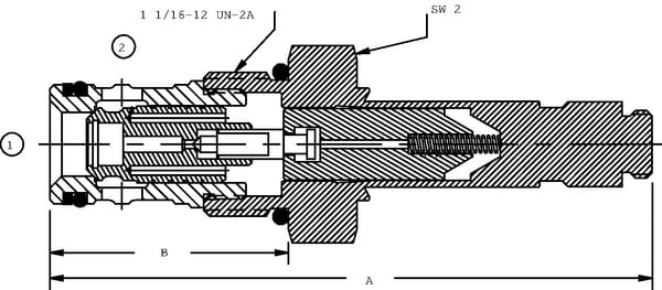
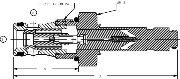
Normálně zavřený, předem aktivovaný elektromagnetický ventil. V nenapájeném stavu jsou otvory 2 do 1 zavřené a mezi otvory 1 do 2 je volný průtok. Za provozu je volný průtok z otvoru 2 do 1 a silně omezený průtok z otvoru 1 do 2.
Zobrazit více
Podrobnosti
  • Normálně zavřená vložka
  • Elektricky napájený zpětný ventil
  • Předem aktivovaná vložka
  • Ventilové sedlo s maximálním průsakem 6 kapek/min
  • Klidový stav: zavřeno z 2 do 1
  • Klidový stav: volný průtok z 1 do 2
  • Provoz: volný průtok z 2 do 1
  • Provoz: silně omezený průtok z 1 do 2

Tento produkt má několik variant. Vyberte prosím konkrétní variantu z tabulky níže.

Dostupné varianty produktu

Produkt Košík Cena Dutina Značka Jednotka Napětí (DC) Točivý moment ACelková délka S nouzovou funkcí Maximální průtok SW1Velikost klíče Maximální pracovní tlak Normálně otevřený nebo uzavřený
Patrona 2/2 CP501-1-B-0-NC
Patrona 2/2 CP501-1-B-0-NC
CP5011B0NC
4 021,44 Kč 3 323,50 Kč bez DPH
CP12-2 Danfoss Kus
  • 12 V
  • 24 V
  • 230 V
122 N·m 112,3 mm Ne 114 l/min 31.8 mm 207 BAR Uzavřené